English
全部
搜索
图片
视频
地图
资讯
更多
购物
航班
旅游
笔记本
报告不当内容
请选择下列任一选项。
无关
低俗内容
成人
儿童性侵犯
时长
全部
短(小于 5 分钟)
中(5-20 分钟)
长(大于 20 分钟)
日期
全部
过去 24 小时
过去一周
过去一个月
去年
清晰度
全部
低于 360p
360p 或更高
480p 或更高
720p 或更高
1080p 或更高
源
全部
Dailymotion
Vimeo
Metacafe
Hulu
VEVO
Myspace
MTV
CBS
Fox
CNN
MSN
价格
全部
免费
付费
清除筛选条件
安全搜索:
中等
严格
中等(默认)
关闭
筛选器
0:18
MSN
Ilya Barkanov
Why Are There So Many Drones? Discovering an Abandoned Hive
In this video, I investigate what appeared to be a bustling beehive but turned out to be an abandoned colony filled with drone bees. I share the surprising signs and aftermath of finding and removing empty honeycomb, and talk through the clues that indicate a hive is no longer active. It's a fascinating look into bee behavior and the challenges ...
1 个月前
Rubber Drone Hypnosis
0:14
⬡-Drone #9940 on TikTok
TikTok
hexdrone9940
已浏览 5368 次
2022年4月2日
0:45
Dronification Hypnosis for Transformation and Submission
TikTok
hexdrone9940
已浏览 2.4万 次
2022年4月5日
0:10
Exploring Latex Dronification and Catgirl Aesthetics
TikTok
hexdrone9940
已浏览 7139 次
2022年5月28日
热门视频
The drone that makes night day. — Hive
hive.blog
8 个月之前
3:01
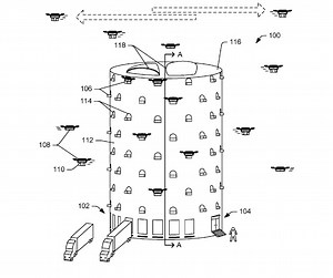
580K views · 1.2K reactions | Amazon recently patented a hive-like structure to house delivery drones. Here’s what it might look like. (360 video) | Tatered | Facebook
Facebook
Tatered
已浏览 58.1万 次
2020年4月15日
This Hoverboard Really Hovers Because It's Basically a Skateboard Drone
theawesomer.com
2021年4月28日
Female Rubber Drones
6:17
“I Was Born With Male and Female Parts”
YouTube
ABC Science
已浏览 446.9万 次
2024年6月26日
22:45
The 7 Most Common Female Narcissistic Traits - NPD
YouTube
Dr. Daniel Fox
已浏览 105.8万 次
2023年6月7日
6:52
Top 10 - 1970s Female Singers We Will Never Forget
YouTube
ChatNoirVibes
已浏览 151.9万 次
2024年9月6日
The drone that makes night day. — Hive
8 个月之前
hive.blog
3:01
580K views · 1.2K reactions | Amazon recently patented a hive-li
…
已浏览 58.1万 次
2020年4月15日
Facebook
Tatered
This Hoverboard Really Hovers Because It's Basically a Skateboar
…
2021年4月28日
theawesomer.com
1:23
18K views · 514 reactions | The life of a drone, the only male in a hive
…
已浏览 1.8万 次
2 周前
Facebook
Flow Hive
Why Drones Are Evicted From The Hive In Autumn, With Video
2022年9月23日
buzzaboutbees.net
Amazon’s delivery drone hive looks like it came from a sci-fi movie nig
…
2017年6月23日
geekwire.com
0:45
Dronification Hypnosis for Transformation and Submission
已浏览 2.4万 次
2022年4月5日
TikTok
hexdrone9940
0:49
A Drone bee hatching from his cell 🐝 Do you know how to tell a Drone (
…
已浏览 1.3万 次
2019年5月14日
Facebook
Flow Hive
0:35
Here's a video of a freshly hatched drone bee. Notice it's big eyes co
…
已浏览 3.7万 次
2015年3月27日
Facebook
Flow Hive
0:15
20K views · 67 reactions | Smart farming: agricultural drones work
…
已浏览 5971 次
5 天之前
Facebook
China Xinhua Sci-Tech
6:35
Hive Robotics Raises €2M to Revolutionize Multi-Domain Auton
…
4 个月之前
YouTube
Fé e Redenção
rubber drone controller
已浏览 3839 次
2019年2月15日
YouTube
Robert Marble
vi-AA1wrA9b
2024年12月26日
MSN
Advanced Fiber Optic Drone for Complex Environments
已浏览 4358 次
9 个月之前
TikTok
cloud.walker06
Bumblebee Drone Can Spray Rubber Trees Like a Pro, Has Noth
…
2024年10月28日
techeblog.com
Drone, stealth variant
已浏览 4946 次
2021年12月22日
YouTube
immortalmasks
Evolution of The Hive UAS Tech Accelerator - Lap 1
已浏览 124 次
6 个月之前
YouTube
The HIVE, Grand Forks
1:09
Drone spotted during filmed hive inspection
已浏览 1053 次
4 个月之前
YouTube
Mason Hoeg
3:41
Rubber Transformation Part !
已浏览 4.7万 次
2007年3月22日
YouTube
Dreadhead Jake
5:49
Bladeless Drone: First Flight
已浏览 338.2万 次
2018年10月15日
YouTube
Stefano Rivellini
3:46
Horizontal Hive Build
已浏览 6.4万 次
2020年4月27日
YouTube
SilentDeath002
28:41
Dronification Part 4 - Drone Shell Transfer
已浏览 1.2万 次
2018年5月13日
YouTube
Cyrus Softfur
20:46
Heavy Lift Carbon Fiber Drone
已浏览 19.2万 次
2017年5月9日
YouTube
Tech Ingredients
1:11
This Smart Beehive Harvests Honey Automatically | Future Blink
已浏览 3.5万 次
2020年5月19日
YouTube
Mashable
7:42
Top 3 Agricultural Spraying Drone [2020]
已浏览 14.4万 次
2020年10月20日
YouTube
New Tech Drones
1:17
What is a Drone Honey Bee
已浏览 8.1万 次
2015年11月7日
YouTube
Chiefman
5:56
HOVERSURF Rideable Hoverbike at CES (Human Drone Bike)
已浏览 10.9万 次
2019年1月21日
YouTube
ElectricBikeReview.com
1:07
Incredible drone-powered "hoverbike" built by Russians
已浏览 34.9万 次
2017年2月22日
YouTube
On Demand News
32:57
EVE online Drone 10/10 DED (Outgrowth Rogue Drone Hive)
已浏览 1873 次
2020年4月11日
YouTube
L K
观看更多视频
更多类似内容
反馈